数控机床高端技术:五轴加工中心 五轴立式加工中心 五轴联动加工中心
是为了克服三轴加工的不足而发展起来的一项先进制造技术,是解决叶轮、叶片、船用螺旋桨、重型发电机转子、汽轮机转子、大型柴油机曲轴等加工的唯一手段。请关注微 机械公社圈从理论上来说,加工刀具的自由度最多具有三个平移和三个转动自由度,相应的工作台的自由度最多也是六个,从中任取五个自由度来设计机床就被称为五轴数控机床。五个自由度的组合形式有许多,一般最为常见的是三个平移运动加上两个转动运动组成,现有的大部分五轴数控机床都配置了三个直线坐标轴和两个旋转坐标轴,并可以在计算机数控(CNC)系统的控制下同时协调运动进行加工。 当前,国外五轴联动数控机床以欧美、日本为代表,这些国家的五轴联动数控机床代表了当今五轴联动数控机床发展的最高水平。

目前国外著名机床厂五轴联动数控机床技术发展重点可归结为:高速、高精度、环保、智能、复合化。力矩电机在国外作为回转坐标驱动装置的广泛使用,使得国外机床进给机构实现了高速、低损耗、高精度、高效率的目标。新的机床技术在五轴联动机床上的使用,使得五轴联动机床在结构上越来越简单,在性能、功能上却越来越优秀。在国家相关政策的支持及相关企业、高校、科研院所等部门的努力下,我国五轴联动数控机床技术也得到了快速发展和长足进步,逐渐形成了较为成熟的产品,具有品种多样、技术成熟、拥有自主技术知识产权的特点。但由于国内工业基础薄弱,如数控系统、光栅尺反馈系统、导轨、丝杠及轴承等,还没有处于世界领先水平的品牌,再加上国外同类产品的技术封锁,国内五轴联动数控机床相对于国外整体水平还较低,具体体现在稳定性、精度等相差较大。

五轴数控加工技术发展到今天,虽然已经取得了很大的进步,但提高加工质量、效率及稳定性,充分满足产品生产的要求是制造技术发展的永恒主题,五轴数控加工技术也将朝着更高精度、更高效率及更高稳定性的方向发展。随着我国航空航天、军事、科研、精密器械、高精医疗设备和能源等领域的不断发展,一些起主导作用的精密复杂零件对加工的效率、成形的精度以及成品率等指标提出了更高的要求。如飞机机体骨架、隔板、大梁等框架类零件,火箭发动机定位型面结构件,叶轮等回转类零件,其材料去除率达到70%左右,有的甚至达到90%以上,这些曲面类零件和大型回转类零件,多需利用五轴加工中心进行加工,

而铣削加工作为一种高效的材料去除方式,尤其是复杂曲面的加工,通常采用数控铣削加工方式,因此,五轴铣削加工的应用十分广泛。在传统加工过程中,由于切削力,颤振等动力学因素,对工艺参数的选择过于保守,经常造成工艺参数选择不当,引起加工系统失稳,对被加工表面质量产生了比较严重的影响,致使零件表面产生缺陷,影响零件的使用性能和寿命。在此背景下,高效铣削加工被提出,并引起研究人员及生产加工企业的重视。所谓高效铣削加工,是在保持加工系统稳定、被加工零件质量的同时,最大限度地提高材料去除率。国际生产工程学会(CIRP)召开了一系列高效切削国际会议,就高效切削涉及的关键技术进行了讨论,国内举行的先进制造技术方面的重要会议也逐渐的开始重视高效加工,可以说,高效加工技术研究已成为数控加工发展的新趋势。

五轴立式加工中心
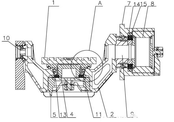
1、工作台本体,2、桥架,21、外密封槽,22、内密封槽,24、凸部,3、尾架,4、工作台支撑C轴,41、阶梯槽,42、台阶,5、C轴力矩电机,6、V型密封圈,7、B轴安装套,8、B轴力矩电机,9、B轴输出轴,10、尾部支撑轴,11、工作台轴承,12、支撑环,13、C轴钳夹,14、第一B轴钳夹抱轴机构,15、第二B轴钳夹抱轴机构,101、底座,102、机架,103、刀库,104、旋转摆动工作台,105、X轴传动机构,106、滑架,107、Y轴传动机构,108、Y轴滑枕,109、Z轴传动机构,110、Z轴滑枕,111、操作台,112、电柜。

底座101、机架102、刀库103和旋转摆动工作台104,机架102固定在底座101上,旋转摆动工作台104的尾架3固定在底座101上,B轴摆动机构安装在机架102的侧面,机架102上安装有X轴传动机构105,X轴传动机构105上滑动安装有滑架106,滑架106上安装有Y轴传动机构107,Y轴传动机构107上滑动安装有Y轴滑枕108,Y轴滑枕108的一端安装有Z轴传动机构109,Z轴传动机构109上套装有Z轴滑枕110,刀库103安装在Z轴滑枕110上,Z轴传动机构109位于旋转摆动工作台104的上方,C轴与Z轴传动机构109的Z轴方向相互平行,B轴与Y轴传动机构107的Y轴方向相互平行。底座101上还安装有操作台111。底座101的侧面还安装有电柜112。

旋转摆动工作台104,包括工作台本体1、桥架2、尾架3、C轴转动机构和B轴摆动机构,工作台本体1通过C轴转动机构转动安装在桥架2上,桥架2的一端与尾架3转动连接,B轴摆动机构与桥架2的另一端转动连接,C轴转动机构中的C轴和B轴摆动机构中的B轴相互垂直。 C轴转动机构包括工作台支撑C轴4和C轴力矩电机5,C轴力矩电机5固定安装在桥架2内,工作台支撑C轴4的一端用于支撑工作台本体1底部,工作台支撑C轴4的另一端与C轴力矩电机5的输出轴连接,工作台支撑C轴4外还套装有能够抱死工作台支撑C轴4的C轴钳夹抱轴机构,C轴钳夹抱轴机构中的C轴钳夹13与工作台支撑C轴4同轴设置。工作台支撑C轴4的一端与桥架2之间采用双层旋转密封结构,

双层旋转密封结构包括开设在桥架2上的外密封槽21和内密封槽22,外密封槽21的底部高于内密封槽22的底部,外密封槽21和内密封槽22之间形成凸部24,工作台支撑C轴4的一端的具有周向的外凸圈,外凸圈的底部具有阶梯槽41,阶梯槽41卡接在凸部24上,阶梯槽41的内圈与内密封槽22的外圈贴合,阶梯槽41的外圈套装在外密封槽21的外部,阶梯槽41的外圈具有台阶42,台阶42的高度与凸部24的高度相一致,台阶42搭接在外密封槽21上,外密封槽21和内密封槽22内均安装有V型密封圈6。


优点

1 )采用径向抱轴机构即C轴钳夹抱轴机构,使用径向抱轴的钳夹系统,装配时,只需调整C轴钳夹使其与C轴旋转轴同轴,则可在不影响转台精度的情况下达到抱轴的目的;
2)采用阶梯状双层旋转密封,从结构上有效的预防冷却液渗入;
3)工作台轴承外套装有支撑环,与无支撑环结构相比,可增加轴承刚性30%,在保证轴承精度的情况下,增大其承载能力;
4 )采用力矩电机直接驱动B轴输出轴,与传统涡轮蜗杆传动相比,该传动方式减少了中间环节;结构更紧凑;使用寿命长;运转平稳、无噪音;安装简单易操作;

5)传统的抱轴机构,只有单独的一个抱轴机构,存在因抱轴油路泄露,油缸卡死等抱轴机构失效情况,造成摆动轴自由下摆,出现安全事故。本结构采用双钳夹抱轴,利用两个独立的钳夹分别抱轴,有效的降低了风险;
6)五轴高效立式加工中心采用旋转摆动工作台后,不仅精度和刚度高、稳定性好,而且结构紧凑,操作简单,使用寿命长。